Honda
ACL - Race Thrust washer set for HONDA B16, D16, B18C, B20,F20C,F22C, H22A, H23,F23, K20, K24

ACL - Race Thrust washer set for HONDA B16, D16, B18C, B20,F20C,F22C, H22A, H23,F23, K20, K24
€66,00
Specifications:Manufacturer: ACLReference Number: 1T1957-STDThe unique combination of design, metallurgy and engineering come together to deliver what drivers expect from high performance Trimetal engine bearings. Acl Race remains one of the best performance bearing around! Available in:STD.25 Tolerance for reparation.50 Tolerance for reparation...
ATI - Super Damper (Low Inertia Race) - Honda - H Series

ATI - Super Damper (Low Inertia Race) - Honda - H Series
€745,20
Specifications:Manufacturer: ATIReference Number: 918467Diameter: 7.074"Weight: 6.40 lbsSuper Damper for Honda '93 - '01 Honda Prelude 2.2L DOHC and '94 - '02 Honda Accord 2.2 & 2.3L Fits H22 Engines Street versions: 6 rib serpentine accessory drive is 9% OD. Removable PS drive is 4% OD. Max 400 HP use.Damper #918467 features a lightweight i...
ATI - Super Damper (Race) - Honda - H Series

ATI - Super Damper (Race) - Honda - H Series
€733,20
Specifications:Manufacturer: ATIReference Number: 918469Diameter: 7.074"Weight: 7.30 lbsSuper Damper for Honda '93 - '01 Honda Prelude 2.2L DOHC and '94 - '02 Honda Accord 2.2 & 2.3L Fits H22 Engines Race versions: No P/S or A/C drives Dampens torsional crankshaft vibrations at all RPM levels Protects against engine harmonics Laser-etched ti...
ATI - Super Damper (Street) - Honda - H Series

ATI - Super Damper (Street) - Honda - H Series
€740,40
Specifications:Manufacturer: ATIReference Number: 918468Diameter: 6.78"Weight: 6.40 lbsSuper Damper for Honda '93 - '01 Honda Prelude 2.2L DOHC and '94 - '02 Honda Accord 2.2 & 2.3L Fits H22 Engines Street versions: 6 rib serpentine accessory drive is 9% OD. Removable PS drive is 4% OD. Max 400 HP use. Dampens torsional crankshaft vibrations...
Beatrush - Blue Oil Filler Cap - Honda F/H/K/B/D Series

Beatrush - Blue Oil Filler Cap - Honda F/H/K/B/D Series
€85,60
Specifications:Manufacturer: BeatrushReference Number: S1401AH-BThis Genuine Beatrush Blue Oil Filler Cap keeps a neat look into your Engine Bay . Suitable for Honda F/H/K/B/D Series().Taxes:Singapore and Malaysia: All import taxes are included in our pricing.European Tva, Iva: Taxes will be calculated during checkout at our company import rate...
Beatrush - Gold Oil Filler Cap - Honda F/H/K/B/D Series

Beatrush - Gold Oil Filler Cap - Honda F/H/K/B/D Series
€85,60
Specifications:Manufacturer: BeatrushReference Number: S1401AH-GThis Genuine Beatrush Gold Oil Filler Cap keeps a neat look into your Engine Bay . Suitable for Honda F/H/K/B/D Series().Taxes:Singapore and Malaysia: All import taxes are included in our pricing.European Tva, Iva: Taxes will be calculated during checkout at our company import rate...

Beatrush - Silver Oil Filler Cap - Honda F/H/K/B/D Series
€85,60
Specifications:Manufacturer: BeatrushReference Number: S1401AH-SThis Genuine Beatrush Silver Oil Filler Cap keeps a neat look into your Engine Bay . Suitable for Honda F/H/K/B/D Series().Taxes:Singapore and Malaysia: All import taxes are included in our pricing.European Tva, Iva: Taxes will be calculated during checkout at our company import ra...
CP Pistons - Piston ring kit for SC7032 - Honda - H23A

CP Pistons - Piston ring kit for SC7032 - Honda - H23A
€121,20
Specifications:Manufacturer: CP PistonsReference Number: CPN-3445This is a Single piston Ring Kit for CP pistons kit ref: SC7032. Purchase 4, 6 or 8 for a full set. Original Piston Kit details as follow: Manufacturer Brand: CP PistonsPart Number: SC7032Compression Ratio: 9.0:1Bore (mm): 87.5 ( +0.5mm)Stroke (mm): 95Rod Length (mm): 141.75Pin Dia...
CP Pistons Kit - 9.0:1Cr - 87.5mm Bore - Honda - H23A

CP Pistons Kit - 9.0:1Cr - 87.5mm Bore - Honda - H23A
€1.268,40
Manufacturer Brand: CP PistonsPart Number: SC7032Compression Ratio: 9.0:1Bore (mm): 87.5 ( +0.5mm)Stroke (mm): 95Rod Length (mm): 141.75Pin Diameter (mm): 22Compression Height (mm): 30.5816Block Height (mm): 220Piston weight (Gr): 333Replacement Parts: Pin: 866-2250-20CP1CRings: CPN-3445Locks: 866x063 SWLCP Pistons feature:Dedicated forgingsBala...
Eagle - Conrods Set - Honda - H23A

Eagle - Conrods Set - Honda - H23A
€726,00
Specifications:Manufacturer: EagleReference Number: CRS5571H3DMade from premium, 4340 steel billet material, Brian Crower connecting rods are available in two distinct styles depending on horsepower, budget and engine application, but both include the exclusive Brian Crower oiling groove in the pin bushing for added oiling. The bROD Series is in...
Feels (Honda Twincam) - Feels Oil Cap - Honda F/H/K/B/D Series

Feels (Honda Twincam) - Feels Oil Cap - Honda F/H/K/B/D Series
€160,90
Specifications:Manufacturer: Feels (Honda Twincam)Reference Number: FEEL0190This Genuine Feels (Honda Twincam) Feels Oil Cap keeps a neat look into your Engine Bay . Suitable for Honda F/H/K/B/D Series().Taxes:Singapore and Malaysia: All import taxes are included in our pricing.European Tva, Iva: Taxes will be calculated during checkout at our c...
Feels (Honda Twincam) - Oil Cap - Honda F/H/K/B/D Series

Feels (Honda Twincam) - Oil Cap - Honda F/H/K/B/D Series
€160,90
Specifications:Manufacturer: Feels (Honda Twincam)Reference Number: FEEL0191This Genuine Feels (Honda Twincam) Oil Cap keeps a neat look into your Engine Bay . Suitable for Honda F/H/K/B/D Series().Taxes:Singapore and Malaysia: All import taxes are included in our pricing.European Tva, Iva: Taxes will be calculated during checkout at our company...

Ferrea - Intake,Exhaust Valves Seals 5.5mm - Honda - F/H/K/B/D Series
€258,00
Specifications:Manufacturer: FerreaReference Number: VS1002/VS100316 Pack of Ferrea 5.5mm Intake (8 Seals) and Exhaust (8 Seals) Valve Seals. Vitton Seals for extra life at High rpm!Taxes:TVA / IVA / VAT: Import taxes and European Union (TVA / IVA / VAT) are included in our pricing excluding United Kingdom. Other countries such as Switzerland ma...
Gates - Racing Timing Belt Kit - Honda - H23A

Gates - Racing Timing Belt Kit - Honda - H23A
€237,60
Specifications:Manufacturer: GatesReference Number: T216RBConstructed of HNBR Elastomeric composites, these belts provide up to three times the heat resistance, and feature teeth reinforced with Aramid and nylon fiber to minimize wear. And Gates Racing Performance timing belts are 300% stronger than the standard aftermarket belt. The added stren...
Genuine Honda Parts - Accessory Belt Tensionner - Honda H Series

Genuine Honda Parts - Accessory Belt Tensionner - Honda H Series
€132,80
Specifications:Manufacturer: Genuine Honda PartsReference Number: 14520-P13-013Genuine Honda replacement Accessory Belt Tensionner complete original factory specification. Suitable for Honda H Series.Taxes:Singapore and Malaysia: All import taxes are included in our pricing.European Tva, Iva: Taxes will be calculated during checkout at our compa...

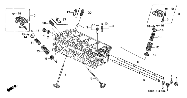
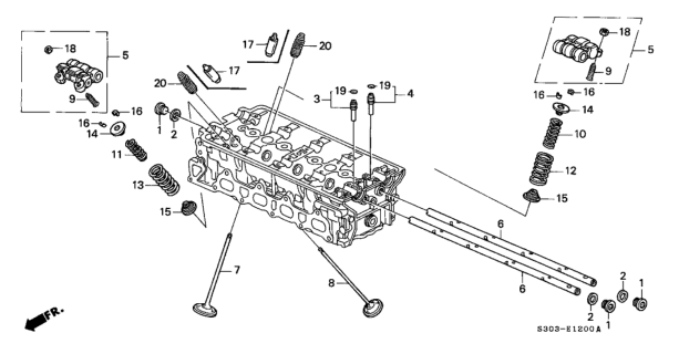
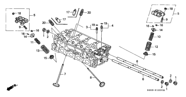
Genuine Honda Parts - Arm Assembly, Rocker - Honda H Series
€130,30
Specifications:Manufacturer: Genuine Honda PartsReference Number: 14620-P5M-000Genuine Honda replacement Arm Assembly, Rocker complete original factory specification. Suitable for Honda H Series. Buy 8 to make a full set!0Shipping: This product will be shipped from our Japanese Warehouse to any global location. 0This part fits:H22A | 2200cc | DO...
Genuine Honda Parts - Camshaft Seal - Honda H Series

Genuine Honda Parts - Camshaft Seal - Honda H Series
€25,70
Specifications:Manufacturer: Genuine Honda PartsReference Number: 91213-PR3-004Genuine Honda replacement Camshaft Seal complete original factory specification. Suitable for Honda H Series.Taxes:Singapore and Malaysia: All import taxes are included in our pricing.European Tva, Iva: Taxes will be calculated during checkout at our company import ra...

Genuine Honda Parts - Distributor Bolt (Short) - Honda H Series
€21,70
Specifications:Manufacturer: Genuine Honda PartsReference Number: 90003-P01-000Genuine Honda replacement Distributor Bolt (Short) complete original factory specification. Suitable for Honda H Series.Taxes:Singapore and Malaysia: All import taxes are included in our pricing.European Tva, Iva: Taxes will be calculated during checkout at our compan...

Genuine Honda Parts - Distributor O-ring - Honda F/H/B/D Series
€22,40
Specifications:Manufacturer: Genuine Honda PartsReference Number: 30110-PA1-732Genuine Honda replacement Distributor O-ring complete original factory specification. Suitable for Honda F/H/B/D Series.Taxes:Singapore and Malaysia: All import taxes are included in our pricing.European Tva, Iva: Taxes will be calculated during checkout at our compan...

Genuine Honda Parts - Engine Block Ventilation Plug - Honda F/H/K/B/D Series
€26,90
Specifications:Manufacturer: Genuine Honda PartsReference Number: 11107-PK2-003Genuine Honda replacement Engine Block Ventilation Plug complete original factory specification. Suitable for Honda F/H/K/B/D Series. Install this plug to decompress your lower engine case gaining on faster Rpm. Plug it to your oil Catch tank!Taxes:Singapore and Malay...

Genuine Honda Parts - Lost Motion Assembly LMA (Individual) - Honda H Series
€30,00
Specifications:Manufacturer: Genuine Honda PartsReference Number: 14820-PCB-003Genuine Honda replacement Lost Motion Assembly LMA (Individual) complete original factory specification. Suitable for Honda H Series. Buy 8 to make a full set!Taxes:Singapore and Malaysia: All import taxes are included in our pricing.European Tva, Iva: Taxes will be c...

Genuine Honda Parts - Spark Plug Seals (Single) - Honda H Series
€25,30
Specifications:Manufacturer: Genuine Honda PartsReference Number: 12342-PT2-000Genuine Honda replacement Spark Plug Seals (Single) complete original factory specification. Suitable for Honda H Series.Taxes:Singapore and Malaysia: All import taxes are included in our pricing.European Tva, Iva: Taxes will be calculated during checkout at our compa...

Genuine Honda Parts - Vtec Solenoid lower gasket - Honda H Series
€25,20
Specifications:Manufacturer: Genuine Honda PartsReference Number: 36172-P08-015Genuine Honda replacement Vtec Solenoid lower gasket complete original factory specification. Suitable for Honda H Series.Taxes:Singapore and Malaysia: All import taxes are included in our pricing.European Tva, Iva: Taxes will be calculated during checkout at our comp...

Js Racing - Oil Filler Cap (Blue) - Honda F/H/K/B/D Series
€55,70
Specifications:Manufacturer: Js RacingReference Number: OFW-BLThis Genuine Js Racing Oil Filler Cap (Blue) keeps a neat look into your Engine Bay . Suitable for Honda F/H/K/B/D Series().0Shipping: This product will be shipped from our Japanese Warehouse to any global location. 0This part fits:K20A | 2000cc | DOHC | 16v | NA | I4K20A1 | 2000cc | ...

Js Racing - Oil Filler Cap (Bronze) - Honda F/H/K/B/D Series
€55,70
Specifications:Manufacturer: Js RacingReference Number: OFW-BZThis Genuine Js Racing Oil Filler Cap (Bronze) keeps a neat look into your Engine Bay . Suitable for Honda F/H/K/B/D Series().0Shipping: This product will be shipped from our Japanese Warehouse to any global location. 0This part fits:K20A | 2000cc | DOHC | 16v | NA | I4K20A1 | 2000cc ...

Js Racing - Oil Filler Cap (Gold) - Honda F/H/K/B/D Series
€55,70
Specifications:Manufacturer: Js RacingReference Number: OFW-GDThis Genuine Js Racing Oil Filler Cap (Gold) keeps a neat look into your Engine Bay . Suitable for Honda F/H/K/B/D Series().0Shipping: This product will be shipped from our Japanese Warehouse to any global location. 0This part fits:K20A | 2000cc | DOHC | 16v | NA | I4K20A1 | 2000cc | ...

Js Racing - Oil Filler Cap (Metallic Silver) - Honda F/H/K/B/D Series
€55,70
Specifications:Manufacturer: Js RacingReference Number: OFW-MSThis Genuine Js Racing Oil Filler Cap (Metallic Silver) keeps a neat look into your Engine Bay . Suitable for Honda F/H/K/B/D Series().0Shipping: This product will be shipped from our Japanese Warehouse to any global location. 0This part fits:K20A | 2000cc | DOHC | 16v | NA | I4K20A1 ...
Js Racing - Oil Filler Cap (Silver) - Honda F/H/K/B/D Series
€55,70
Specifications:Manufacturer: Js RacingReference Number: OFW-SLThis Genuine Js Racing Oil Filler Cap (Silver) keeps a neat look into your Engine Bay . Suitable for Honda F/H/K/B/D Series().0Shipping: This product will be shipped from our Japanese Warehouse to any global location. 0This part fits:K20A | 2000cc | DOHC | 16v | NA | I4K20A1 | 2000cc ...

Js Racing - SPL Oil Filler Cap (Black) - Honda F/H/K/B/D Series
€55,70
Specifications:Manufacturer: Js RacingReference Number: OFW-BKThis Genuine Js Racing SPL Oil Filler Cap (Black) keeps a neat look into your Engine Bay . Suitable for Honda F/H/K/B/D Series().Taxes:Singapore and Malaysia: All import taxes are included in our pricing.European Tva, Iva: Taxes will be calculated during checkout at our company import...

Js Racing - SPL Oil Filler Cap (Blue) - Honda F/H/K/B/D Series
€55,70
Specifications:Manufacturer: Js RacingReference Number: OFW-BLThis Genuine Js Racing SPL Oil Filler Cap (Blue) keeps a neat look into your Engine Bay . Suitable for Honda F/H/K/B/D Series().Taxes:Singapore and Malaysia: All import taxes are included in our pricing.European Tva, Iva: Taxes will be calculated during checkout at our company import ...

Js Racing - SPL Oil Filler Cap (Bronze) - Honda F/H/K/B/D Series
€55,70
Specifications:Manufacturer: Js RacingReference Number: OFW-BZThis Genuine Js Racing SPL Oil Filler Cap (Bronze) keeps a neat look into your Engine Bay . Suitable for Honda F/H/K/B/D Series().Taxes:Singapore and Malaysia: All import taxes are included in our pricing.European Tva, Iva: Taxes will be calculated during checkout at our company impor...

Js Racing - SPL Oil Filler Cap (Gold) - Honda F/H/K/B/D Series
€55,70
Specifications:Manufacturer: Js RacingReference Number: OFW-GDThis Genuine Js Racing SPL Oil Filler Cap (Gold) keeps a neat look into your Engine Bay . Suitable for Honda F/H/K/B/D Series().Taxes:Singapore and Malaysia: All import taxes are included in our pricing.European Tva, Iva: Taxes will be calculated during checkout at our company import ...

Js Racing - SPL Oil Filler Cap (Red) - Honda F/H/K/B/D Series
€55,70
Specifications:Manufacturer: Js RacingReference Number: OFW-RDThis Genuine Js Racing SPL Oil Filler Cap (Red) keeps a neat look into your Engine Bay . Suitable for Honda F/H/K/B/D Series().Taxes:Singapore and Malaysia: All import taxes are included in our pricing.European Tva, Iva: Taxes will be calculated during checkout at our company import r...

Js Racing - SPL Oil Filler Cap (Silver) - Honda F/H/K/B/D Series
€55,70
Specifications:Manufacturer: Js RacingReference Number: OFW-MSThis Genuine Js Racing SPL Oil Filler Cap (Silver) keeps a neat look into your Engine Bay . Suitable for Honda F/H/K/B/D Series().Taxes:Singapore and Malaysia: All import taxes are included in our pricing.European Tva, Iva: Taxes will be calculated during checkout at our company impor...
Jun Auto - Blue Oil Cap - Honda F/H/K/B/D Series

Jun Auto - Blue Oil Cap - Honda F/H/K/B/D Series
€151,40
Specifications:Manufacturer: Jun AutoReference Number: 2003M-H003This Genuine Jun Auto Blue Oil Cap keeps a neat look into your Engine Bay . Suitable for Honda F/H/K/B/D Series().Taxes:Singapore and Malaysia: All import taxes are included in our pricing.European Tva, Iva: Taxes will be calculated during checkout at our company import rate. No ad...
Jun Auto - Gold Oil Cap - Honda F/H/K/B/D Series

Jun Auto - Gold Oil Cap - Honda F/H/K/B/D Series
€151,40
Specifications:Manufacturer: Jun AutoReference Number: 2003M-H004This Genuine Jun Auto Gold Oil Cap keeps a neat look into your Engine Bay . Suitable for Honda F/H/K/B/D Series().Taxes:Singapore and Malaysia: All import taxes are included in our pricing.European Tva, Iva: Taxes will be calculated during checkout at our company import rate. No ad...



































